Apple「iTime」と呼ぶiPod nano (6th generation)用腕時計型アクセサリーを開発していたことが明らかに
※本サイトは、アフィリエイト広告および広告による収益を得て運営しています。購入により売上の一部が本サイトに還元されることがあります。
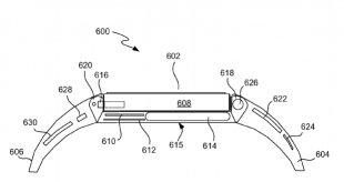
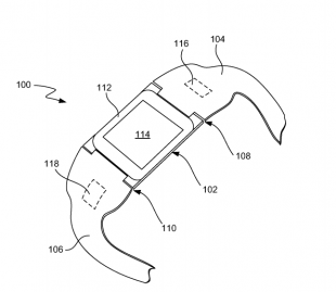
アメリカの特許情報に「Wrist-worn electronic device and methods thereforが公開され、Appleが「iTime」と呼ぶ腕時計型アクセサリーを開発していたことが明らかになりました。
2011年7月に申請されたようで、バンド側に加速度センサー、GPS、アンテナなどの機能が入っていて、30ピンコネクタと接続して使用するデバイスだったようです。
本体ユニット部分に関しては、あまり詳しく説明はありませんが、30品コネクタ接続であることや、30ピンコネクタ接続などを使用すること、タッチパネル式の液晶パネルやバッテリーなどが入っていると説明されていることから、iPod nano (6th generation)用アクセサリーだと考えられます。
特許申請者として、AppleのiPod/iPhone Product Development担当Albert Golko氏、AppleのProduct Design EngineerだったMathias Schmidt氏(現在Nest LabsのProduct Design Engineer)、AppleのSenior Product Design EngineerだったFelix Alvarez氏(現在GoogleのPD Engineer)の名前が記載されています。
