Apple、AirPowerに関する特許「Inductively chargeable earbud case」を出願
※本サイトは、アフィリエイト広告および広告による収益を得て運営しています。購入により売上の一部が本サイトに還元されることがあります。
Appleが、AirPowerに関する特許「Inductively chargeable earbud case」を出願したいたことが分りました。
この特許は、AirPodsをQiワイヤレス充電に対応させるため、AirPodsのバッテリーケース内に内蔵する無線充電用アンテナの配置に関する特許申請で、複数パターンで出願されています。
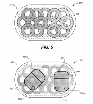
この特許申請の中に、AirPowerのコイル配置図が含まれていて、16個の無線充電コイルが敷き詰められ、AirPowerの端に置いても充電できる仕組みで設計されていることが分ります。
この特許情報が公開された時点で、AirPodsをQiワイヤレス充電に対応させるためのケースが発売されていないことから、AirPodsワイヤレスケース内の無線充電用アンテナ実装方法は、出願された方法ではなく、新しく変更されていると考えられます。
