日本のカーボン製造企業に、カーボン部品のサンプルを依頼?
※本サイトは、アフィリエイト広告および広告による収益を得て運営しています。購入により売上の一部が本サイトに還元されることがあります。
情報筋によれば、2012年3月頃に、AppleとFoxconn Technologyの技術者が愛知県にあるカーボン技術を持った企業を訪れ、サンプルの製造を依頼したようです。どういった物を依頼したかまでは分かっていませんが、サンプルとは呼べないほど数がとても多かったようです。
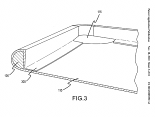
Appleは、炭素繊維強化プラスチック(CFRP)のように多層化されたマトリックス・ファイバー素材を用いてケースを作る特許「REINFORCED DEVICE HOUSING」を申請した事があり、2011年に、Kestral Bicyclesでカーボンファイバーの自転車開発に関わっていたKevin Kenney氏を、シニアコンポジットエンジニアとして雇い入れてます。
また、日本のシニアカーボンエンジニア募集も、人材が見つかったのか、現在終了しています。
Will new Apple product be made of carbon?
According to my source, some engineer of Apple and Foxconn Technology came on Japanese company, which has carbon production in mid-March, and they requested to develop some sample.
I don't have information which is ordered by Apple, source told the number of parts is too large to be called "sample".
Apple already submitted a patent "REINFORCED DEVICE HOUSING" to product case with layered matrix-fiber material like CFRP (Carbon Fiber Reinforced Plastic) , and hired Kevin Kenney who was charged in building carbon bicycle at Kestral Bicycles as sensor composite engineer.
And I point another evidence Apple had found the way of producing with carbon material, Apple has stopped to announce hiring senior carbon engineer already.
